皮带秤专家ky体育中国官方科技欢迎您!  TEL:400-6919-150

ICS-17A电子皮带秤

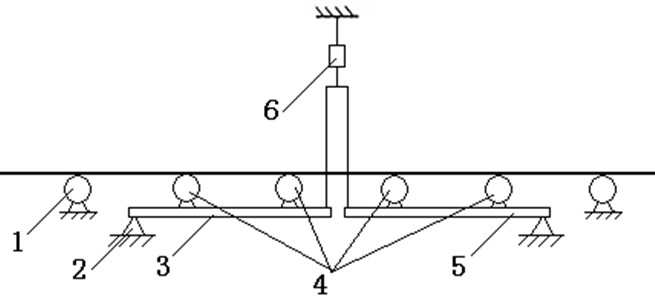
【产品介绍】:ICS-17A型电子皮带秤是一款四托辊、双杠杆式电子皮带秤,采用两只拉式传感器,外侧支承采用无磨擦耳轴支点,能够有效克服偏载、坡度对精度的影响,环境适应能力更强。
  • 简要介绍
  • 详细参数
    【应用领域】
    ICS-17A型电子皮带秤一般用于主运输皮带上,安装的输送机倾角应该≤17°。广泛适用于工业企业称重过程控制,如监测生产量,控制产品的定量装载和监测库存量等场合。
    【产品特点】
    1、双杠杆支点,水平分力,计量精度比较高

    2、称重区域长,“滤波”能力较强,更稳定


    3、承载坚固,环境恶劣也可安装
    ICS-ST-Z(A)皮带秤主机——自主研发 防爆品质
    微机技术、菜单提示、人机对话、操作方便,
    所有设定、校准、操作均通过按键或远程输入完成,
    智能分析秤架运行状态,称重及测速状态,优化处理。
    A/D转换速率快,抗干扰能力强大,完全满足零点长期稳定性要求,
    升级与功能扩展十分灵活,质量媲美进口仪表,性价比却更具优势!
    进口GZD0.5(A)称重传感器——质量稳定 精度高
    国际知名品牌美国威世世铨产品STC,综合性能指标表现更优秀。
    零点补偿、灵敏度补偿、非线性补偿和过载保护功能,
    稳定性、抗侧向力稳定,防水、防尘、防腐蚀。
    专利产品BQH5(A)型测速传感器
    核心部件使用进口欧姆龙产品,
    双滚轮设计结构确保检测滚筒真正转速,
    直流脉冲发生器不需调整或更换碳刷,使用寿命更长。
    坚固外壳,适合于户外安装。
    ICS-17A型称重桥架
可关联设备
  • ICS-ST-Z矿用隔爆兼本安型皮带秤主机
  • GZD0.5矿用本安型称重传感器
  • BQH5矿用本安型编码器
  • ICS-17A型皮带秤秤架

  • 联系人 (必填)
  • 手机 (必填)
  • 使用地区 (必填)
  • 验证码 点击我更换图片
最新评论
  • 张经理 手机:139*****749 地区:温州

    比想象中的实际称量精度更好,更稳定一些。

    感谢您对ky体育中国官方科技产品的支持,我们会尽最大努力做好产品,合作愉快!

  • 陈先生 手机:151*****192 地区:陕西渭南

    同时需要3台皮带秤,能给我相关的资料看看吗?

    您好,我司是国内起步较早的研发电子皮带秤的专业厂家,对于不同行业适用的皮带秤具备丰富的项目经验,请您留下您的邮箱信息,稍后会有专门的技术销售与您联系,并将相关介绍资料和报价单及时发至您的邮箱,请您注意及时查收。

  • 陈总 手机:134*****519 地区:辽宁抚顺

    我这边刚从你们家订购了四套17型秤,能不能给我提供一下你们的物流到哪了。我好提前去提货

    感谢贵司对我司产品的支持,我司厂房就位于大成物流园附近,相关设备的发货十分便利,贵司的距离稍远,稍后客服会联系生产部门,将发货单及时发送给您。

  • 王工 手机:159*****102 地区:湖南长沙

    你们工厂的具体位置在哪,我们想订购几套皮带秤,顺便实地考察一下

    感谢您的来访,我司目前有两个生产基地,一个位于徐州市铜山新区,一个位于徐州市开发区,您可以先到我司总部来视察,随后有专门的商务车送您过去,你看可行?

  • 陈先生 手机:183*****442 地区:石家庄

    我对你们生产的17型皮带秤不是很了解,能给我发一份详细介绍吗?

    您好,感谢您的来访,我司的17型皮带秤时当前的热销款,稍后专门的工程师联系您,并及时将相关的资料发给您,请您注意查收。

  • 廖颖 手机:138*****216 地区:广西贵港市

    同时需要2台皮带秤,能给我相关的资料看看吗?

  • 姚红兵 手机:139*****048 地区:四川

    拟购ICS-17A皮带秤,B=800,4组托轮,50-70吨/小时,请发报价单,注明单价,交货期,付款方式以及该秤的详细配置(包括附件的生产商)。谢谢合作!四川宏达股份有限公司

  • 辛经理 手机:151*****452 地区:山西长治

    非常喜欢和贵司的徐经理合作,不过觉得设备的价格偏高,希望下次购买能给打折

  • 产品分类
    相关产品
    检验报告

    微信公众号
    Copyright kaiyun官方体育登录入口官方 2005-2017,www.rdjays.com,All rights reserved
    版权所有  kaiyun官方体育登录入口官方    苏ICP备13046511号    苏公网安备 32039302000131号
    Baidu
    map